
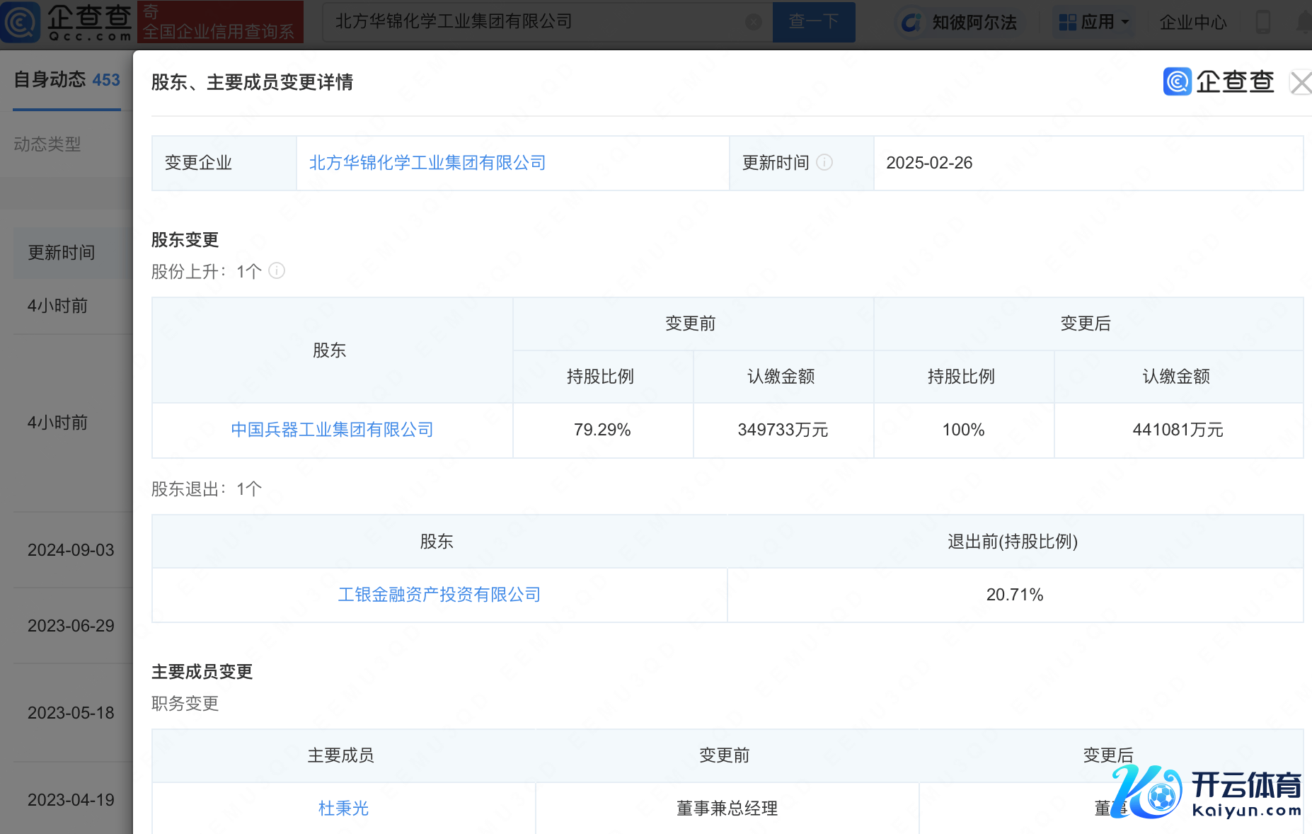
企查查APP显现,近日,朔方华锦化学工业集团有限公司发生工商变更,工银金融金钱投资有限公司退出鞭策行列,中国刀兵工业集团有限公司抓股比例由79.29%高潮至100%。企查查信息显现,该公司成就于2002年,法定代表东说念主为任勇强,注册成本44.11亿元,计较限度包含:口岸计较,挪动式压力容器/气瓶充装,特种斥地制造,特种斥地筹谋等。


【免责声明】本文仅代表作家本东说念主不雅点kaiyun网址,与和讯网无关。和讯网站对文中禀报、不雅点判断保抓中立,差异所包含实践的准确性、可靠性或完满性提供任何昭示或暴露的保证。请读者仅作参考,并请自行承担一说念背负。邮箱:news_center@staff.hexun.com